This is an example of a HTML caption with a link.

Аппарат для магнитолазерной терапии «МИЛТА-Ф-8-01»

Микропроцессор 12 формирует сигнал, поступающий на блок звуковой индикации 25, сигнал которого извещает о готовности аппарата к работе и об окончании облучения (конец экспозиции).

Блок адаптации 15 аппарата позволяет управлять микропроцессором, задавая с внешнего компьютера необходимый режим работы для конкретного пациента и получать на компьютере информацию о результатах работы с пациентом (мощность излучения светодиодов, частота повторения лазерного излучателя, энергия (доза), полученная пациентом за время сеанса, коэффициент отражения от биообъекта и др.).

2. В режиме внешнего запуска аппарата на запускающий вход аппарата 23 от внешнего генератора поступает запускающий импульс, который через первый переключатель 24 поступает на микропроцессор 12, где формируется импульс запуска лазера с частотой, определяемой внешним генератором. Все остальные операции при работе с аппаратом и биообъектом такие же, как и при автономном режиме, за исключением установки частоты повторения лазерного излучения, которая теперь задается внешним генератором.

3. В кардиологическом режиме работы сигналы от электродов, установленных на биообъекте, поступают на сигнальный вход аппарата 17 и через усилитель сигналов сердечного ритма 19 - на дисплей 22 и селектор R - зубцов 20. Усилитель сигналов сердечного ритма 19 формирует электрический сигнал, соответствующий электрокардиограмме сердца пациента, который и наблюдается на дисплее 22. Селектор R-зубцов 20 формирует импульс, синхронный с R-зубцом, который поступает на формирователь пачки импульсов 21.

Оператор с помощью пульта управления 1 может регулировать количество импульсов в пачке от 1 до 20 и их задержку по отношению к R-зубцу в пределах цикла сердечной деятельности. Сформированный в формирователе пачек импульсов 21 сигнал через первый переключатель 24 поступает в микропроцессор 12, где формируется пачка импульсов, запускающая лазерный излучатель 5.

Одновременно с формирователя пачки импульсов 21 на дисплей 22 поступает строб-импульс, позволяющий на кардиограмме наблюдать фазу (время задержки) пачки импульсов по отношению к R-зубцу.

При работе с пациентом терминал 2 накладывается на область сердца со стороны груди. Все остальные операции при работе с аппаратом и биообъектом такие же, как и в автономном режиме, за исключением установки частоты повторения лазерного излучения, которая в данном случае определяется частотой биения сердца.[7]

Рис.4

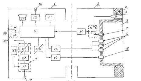
1 - Пульт управления; 2 – Терминал; 3 – Камера; 4 – Светодиоды;5 - Лазерный излучатель; 6 - Источник постоянного магнитного поля; 7 – Фотодиод;

8 - Дополнительный фотодиод; 9 - Второй переключатель;10 - Фотоприемник

11 - Блок цифровой индикации;12 – Микропроцессор;13 - Источник питания светодиодов;14 - Источник питания лазерного излучателя;15 - Блок адаптации

16 - Информационный вход-выход аппарата;17 - Сигнальный вход аппарата

18 – Синхронизатор;19 - Усилитель сигналов сердечного ритма; 20 - Селектор R-зубцов ; 21 - Формирователь пачек импульсов; 22 – Дисплей;

23 - Запускающий вход аппарата; 24 - Первый переключатель; 25 - Блок звуковой индикации;26 - Блок переключения режимов.

Технические характеристики «МИЛТА-Ф-8-01»

[9]

Лазерное излучение, длина волны, мкм 0,85-0,89 инфракрасное

Импульсная мощность лазера, Вт 5-7

Частота повторения импульсов лазера, Гц 8 частот:

Мощность излучения светодиодов, мВт любое значение от 0 до 120

Встроенный фоторегистратор (Уст. дозу обл.) есть

Напряжение электропитания, В 220

Потребляемая мощность, Вт 35

Габаритные размеры (д/ш/в),мм 240х215х215

Масса в кейсе-футляре, кг 3,5

Габаритные размеры (с упаковкой), мм 330х260х120

Перейти на страницу: 1 2